Products
- ホーム
- 製品情報
- マグネットフロート式液面計
- KLINGAGE MG用レベル検出器(アナログセンサー DC4~20mA発信)
KLINGAGE MG用レベル検出器(アナログセンサー DC4~20mA発信)

MGB122R-31-21
レベル検出器付
高圧ガス認定品
MG(マグネットフロート)式液面計用レベル検出器(アナログセンサー)はMG式液面計のコラム(チャンバー)に指示器と併設して取付け、フロート内のマグネットにより、コラム内の液位を計測する検出器です。
コンバーターと接続し液位をDC4~20mAの統一信号に変換し信号を離れた所にある計器盤へ送ることができ、遠隔制御や遠隔管理が可能となります。
また、レベルモニタリングシステム(NR-3000B)との組合せではタンクテーブルのデータをインプットする事により液位から液容量、液質量を演算して表示したり、レベル警報の設定及び出力を発信することができます。
また、高精度、高温用といたしまして、磁歪式センサーも製作しております。
原理
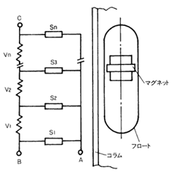
レベル検出器内には、液位測定範囲に比例した磁気感応素子(例えばリードスイッチ等)と抵抗器が複数個、等間隔で設置されております。フロートが液位変化により移動するに伴い、磁気感応素子はON-OFFを繰り返しながらフロート位置部の素子が作動する状態に配列されています。
右図において、例えばS3の素子がONしている時はABの端子間にはVo=V1+V2の電圧を検出することが出来ます。
検出器本体内で検出された電圧を、変換器(R/1変換器)により液位計測範囲においてDC4~20mAの比例値に変換して発信します。
標準仕様
- 電源
- DC24V±5%
- 出力
- DC4~20mA
- 許容負荷抵抗
- ≦ 700Ω
- 調整範囲
- ゼロ調整 0~10%、 スパン調整 70~100%
- 電送精度
- ≦±30mm
- 最大測定長さ
- ~5000m/m
- 構造
- 耐圧防爆 ExdⅡCT6
防水構造 JISC0920
レベル検出
危険場所で使用される耐圧防爆構造の液面指示及び計測系統は、一般的に下図のように示すことができます。フロート式液面計のコラム⑥に、マグネットを内蔵するフロート⑦(マグネット位置は喫水線と一致)はタンク内部液面の変化に追随し、コラムにセットされている指示器⑤を作動して液面を指示します。本機に内装される検出センサー②はフロートの移動を検出し、防爆ケース内にあるコンバーター④がV/A変換を行い、液面の変化をDC4~20mA信号で出力します。また、計測(監視)装置はその電流の変化を演算して、タンクの液量パーセンテージや残量(換算器付の場合)などの変化をモニタで表示します。更に、電話回線などを通して、遠隔制御や集中管理にも応用できます。
尚、お客様の現場状況並びにフロート式液面計の形状(コラムトップがフランジの場合)によって、本機は下図に示す直管型と異なる曲管型も製作可能です。
計測(監視)機器への出力
下図のように、計測(監視)機器を電源のマイナス端から本機とループ結線してください。

本機の規格について
本機は国際電機標準会議(IEC)規格、即ち「新技術的基準」のExdⅡCT 6耐圧防爆及び発火等級に認定されました。本機は業界同類製品の中にトップ等級と高精度の製品であり、従来の労働省「電気機器具防爆構造規格」にも完全に対応しております。
マグネットフロート式液面計 製品一覧
-
KLINGAGE MGS100シリーズ 汎用品MGS型(2B)

-
KLINGAGE MGS400シリーズ 高圧用MGS型(2-1/2B)

-
KLINGAGE MGE100シリーズ 低温用不凍MGE型

-
KLINGAGE 超低温真空タイプ MGV型
-
KLINGAGE MGB100シリーズ 低沸点LPG用MGB型(二重管式)

-
KLINGAGE ボイラ用 MG(マグネットフロート)式水面計 MGD型

-
KLINGAGE MGJ100シリーズ ジャケットタイプMGJ型

-
KLINGAGE MGN100シリーズ ライニングタイプMGN型

-
KLINGAGE MG用MS型リードスイッチ

-
KLINGAGE MG用レベル検出器(アナログセンサー DC4~20mA発信)

-
KLINGAGE レベルモニタリングシステム NR-3000B

-
KLINGAGE MG フロート

-
KLINGAGE MG-R ローター式指示器(特許第1173189号)
