Products
製品情報
      - ホーム
 - 製品情報
 - 金属環融着サイトグラス クリンポート
 - テーパーネジ込み高圧用(KPT-C)
 
テーパーネジ込み高圧用(KPT-C)

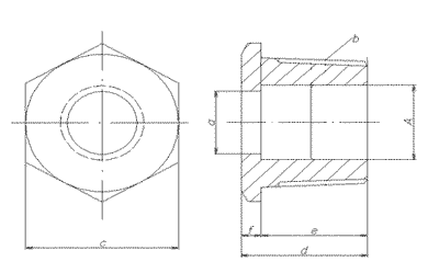
KPT-C型
            テーパーネジによる高圧用モデルです。サイズはKPT-C1Q:R1-1/4、KPT-C2:R2、KPT-C3:R3、KPT-C4:R4を標準としております。 材質は炭素鋼、ステンレス鋼です。 クリンポート取付け用ソケットもご希望に際しまして各種材質製作用意しております。
標準型クリンポートの仕様と定格表KPT-C型

| 型式 | A | a | b | c※ | d | e | f | 耐用圧力 kgf/cm2 (MPa)  | 
      耐用温度 ℃  | 
      水圧試験 kgf/cm2 (MPa)  | 
    
|---|---|---|---|---|---|---|---|---|---|---|
| KPT-C1Q | 25 | 21 | R1- 1/4  | 
      46 | 38 | 32 | 6 | 176 (17.2)  | 
      250 | 274 (26.9)  |  
    
| KPT-C2 | 40 | 36 | R2 | 65 | 45 | 35 | 10 | 93 (9.12)  | 
      200 | 140 (13.7)  | 
    
| KPT-C3 | 70 | 66 | R3 | 95 | 58 | 45 | 13 | 30 (2.94)  | 
      120 | 45 (4.41)  |  
    
| KPT-C4 | 90 | 86 | R4 | 115 | 65 | 50 | 15 | 30 (2.94)  | 
      90 | 45 (4.41)  | 
    
※ KPT-C1Q、KPT-C2は6角形、KPT-C3、KPT-C4は8角形。








